Домой Карта сайта Контакты
АКЦИЯ – электронные циркуляционные насосы со скидкой 50-60% по цене обычных
Насосное оборудование
Подписка 
 
 
 

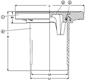
Композитный уличный ковер AVK Серия: 04/75 (Газовое оборудование)

Назначение:
Для телескопических
удлинительных шпинделей AVK

Компоненты:
1. Наружная плита
2. Кольцо круглого сечения
3. Крышка
4. Корпус

   Композитный уличный ковер AVK Серия: 04/75

[Image] Документация: [Image] 10-яя Гарантия на оборудование


 




Logo Lowara
Logo Vogel Pumpen
Logo Flygt
Logo Zilmet
Logo Avk

Вход в систему  
 
новый пользователь? 
Зарегистрироваться
 
Система Orphus