Домой Карта сайта Контакты
АКЦИЯ – электронные циркуляционные насосы со скидкой 50-60% по цене обычных
Насосное оборудование
Подписка 
 
 
 

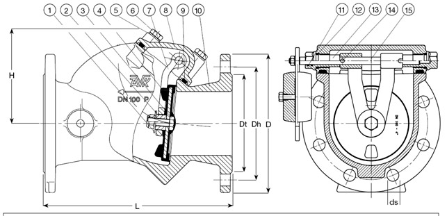
Клапан AVK обратный поворотный Серия: 41 (Сточные воды) 

Назначение:
для питьевой воды и
сточных вод до 70°С

1. Шайба 6. Прокладка крышки
2. Шестигранный винт 7. Корпус
3. Вставка диска 8. Втулочный болт
4. Диск 9. Кольцо круглого сечения
5. Крышка 10. Вал

   Клапан AVK обратный поворотный Серия: 41

[Image] Документация: [Image] 10-яя Гарантия на оборудование


 




Logo Lowara
Logo Vogel Pumpen
Logo Flygt
Logo Zilmet
Logo Avk

Вход в систему  
 
новый пользователь? 
Зарегистрироваться
 
Система Orphus