Домой Карта сайта Контакты
АКЦИЯ – электронные циркуляционные насосы со скидкой 50-60% по цене обычных
Насосное оборудование
Подписка 
 

                                                                                                      

 
 

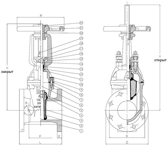
 Задвижки  AVK  магистральная OS&Y PN 16  (Пожарное оборудование) 

 

1. Корпус задвижки 9. Крышка задвижки 17. Крышка сальника
2. Клиновый затвор 10. Уплотнения болтов крышки 18. Ярмо
3. Клин 11. Втулка сальника 19. Резьбовая шпилька
4. Гайка штока 12. Кольцо круглого сечения 20. Шайба
5. Палец 13. Кольцо круглого сечения 21. Маховик
6. Шток 14. Шайба 22. Гайка штока
7. Болт крышки 15. Сальник
8. Прокладка крышки 16. Шестигранная гайка

    Задвижка AVK магистральная OS&Y PN 16

[Image] Документация: [Image] Гарантия на оборудование


 




Logo Lowara
Logo Vogel Pumpen
Logo Flygt
Logo Zilmet
Logo Avk

Вход в систему  
 
новый пользователь? 
Зарегистрироваться
 
Система Orphus